5.5.2.4.5.2.1. Алгоритм
Технологический функциональный блок MOV_TYP выполнен на основе базового функционального блока MC_3E и, соответственно, наследует его функции.
|
Функция
|
Описание
|
|
Обработка концевых выключателей и формирование входа ответного сигнала (PV).
| |
|
Сравнение значения входа ответного сигнала (PV) со значением управляющего выхода (MV) для проверки соответствия между работой исполнительного элемента и выходными сигналами блока управления двигателем.
| |
|
Значение PV не формируется по состоянию концевиков (входы IN1, IN2), а задается оператором вручную. Реальное значение концевиков (входы IN1, IN2) отслеживается по значению параметра необработанных данных (RAW).
| |
|
Имитирует внутреннюю обработку блоков управления двигателем. Не формируется значение PV (удержание предыдущего значения) и не обрабатывается вход блокировки IL. Реальное значение концевиков (входы IN1, IN2) отслеживается по значению параметра необработанных данных (RAW).
| |
|
Обход функций в соответствии с состоянием переключателя команды байпаса.
| |
|
Формирование команд управления в зависимости от значения управляющего выхода (MV).
| |
|
Обработка тревог блока и формирование списка сработавших тревог (ALRM_R) и состояния тревог (ALRM). Информация по сигнализации нарушения соединения (CNF) и высокой сигнализации размыкания входа (IOP) представлена в общем разделе с описанием сигнализации (ссылка "Обработка сигнализации").
| |
|
Маскирование тревог, т.е. тревоги формируются, но не записываются в журнал событий.
| |
|
Принудительный запрет формирования некоторых тревог по ремонтируемому оборудованию.
|
Список доступных режимов:
Список доступных тревог:
Нормальное состояние (NR)
Высокая сигнализация размыкания входа (IOP)
Сигнализация несоответствия ответа (PERR)
Ошибка ответа + (ANS+)
Ошибка ответа - (ANS-)
Сигнализация по блокировке (INT)
Сигнализация нарушения соединения (CNF)
Основные функции
Обработка обнаружения отклонения и состояния переключателя входа полевого устройства.
Взаимодействие со стандартными программными модулями более высокого уровня: состояние и неисправность.
Использование команд оператора: Открытие / остановка / закрытие, MOS.
Мониторинг технического обслуживания.
Подробное описание
Состояние задвижки: Состояние задвижки по сигналу от полевого устройства: либо открытое, либо закрытое. Для отображения внутреннего состояния этот сигнал не учитывается, если включен запрет технического обслуживания.
Состояние готовности: Этот сигнал активен при нормальной работе, когда нет нарушения в электрической цепи, отключения по аварийному сигналу, локального аварийного закрытия / открытия или подключенной съемной электрической секции.
Состояние отклонения: Состояние отклонения будет активно в двух случаях:
Если во время исполнения команды MV=2 (команда открытия) состояние задвижки «закрыт», т.е. PV=0, время таймера отклонения истекло (параметр MTM, регулируемый по параметру настройки), а запрет технического обслуживания не включен, в АСУТП генерируется аварийный сигнал об отклонении ANS+.
Если во время исполнения команды MV=0 (команда закрытия) состояние задвижки «открыт», т.е. PV=2, время таймера отклонения истекло (параметр MTM, регулируемый по параметру настройки), а запрет технического обслуживания не включен, в АСУТП генерируется аварийный сигнал об отклонении ANS-.
Аварийный сигнал об отклонении не активируется, если нет сигнала готовности или задвижка находится в режиме местного управления.
Локальное / дистанционное состояние: Селекторный переключатель, имеющийся в полевом устройстве: когда переключатель переведен в положение «дистанционный режим», сигнал открытия / останова / закрытия задвижки поступает от оператора. Когда переключатель переведен в положение «местный режим», управление осуществляется с местного / полевого устройства. Задвижка может быть закрыта в любой момент времени с местного пульта управления.
Состояние ошибки входа / выхода: Это состояние сообщит о неисправности аппаратуры, связанной с ассоциированной картой входа / выхода, и задвижка останется в прежнем состоянии до возникновения неисправности.
Команды открытия и закрытия: Оператор передает команду через блок MC-3Е, к которому оператор получает доступ на экране управления технологическим процессом.
Команда принудительно переводится на закрытие в результате: защитного отключения или блокировки технологического процесса.
Запрет технического обслуживания (MI) - эта команда доступна на АРМ оператора с управляющим уровнем доступа.
Когда запрет технического обслуживания включен, вход состояния задвижки (открыт / закрыт) не учитывается для обработки внутреннего состояния и отклонение маскируется. Задвижка будет принудительно переведена в режим ручного управления с управлением с полевого устройства.
Переход в режим отслеживания (TRK) происходит по одному из трех условий:
- Переключатель "МЕСТН./ДИСТ." в положении "МЕСТН." (вход REM_SW = FALSE);
- Нажата кнопка "Запрет технического обслуживания" в окне настроек на АРМ оператора;
- Отсутствие состояния "Доступен" блока (вход MOV_AVAIL = FALSE);
В режиме отслеживания (TRK) при условии предварительно включенного конфигурационного параметра "Разрешение слежения за ответом" (вход CONFIG.CONTR_CALC.ANSW_TRACK = TRUE) происходит слежение значения MV за значением PV (MV приравнивается к PV) и соответственно не происходит формирования тревоги несовпадения MV и PV (ANS+ и ANS-).
Настройка блока
Функциональный блок MOV_TYP должен быть сконфигурирован на подачу команды закрытия (MV = 0) при наличии сигнала защиты на входе.
Задайте конфигурационному параметру CONFIG.CONTR_CALC.HOLD_OUT значение FALSE и конфигурационному параметру CONFIG.CONTR_CALC.INTRLK_OUT значение CLOSE.
|
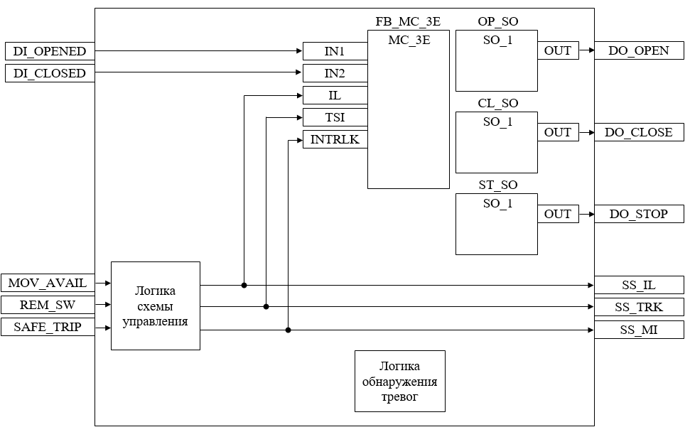
Функциональная блок-схема

Состав элементов блока:
Блок FB_MC_3E базового типа MC_3E используется для передачи команд открытия/закрытия оператором и для отображения состояния задвижки.
Подпрограмма логики схемы управления используется для формирования сигналов управления блоками OP_SO, CL_SO и ST_SO и формирования сигналов блокировки.
Подпрограмма логики обнаружения тревог используется для реализации маскирования аварийного сигнала.
Методы доступа к входам/выходам и адресаты соединения входов/выходов:
|
Вход/
Выход
|
Метод доступа
к входам/
выходам
|
Адресат соединения
| |||
|
Каналы модулей
ввода/
вывода ПЛК
|
Переменные
внешней
логики
|
Входы/выходы функциональных блоков
| |||
|
DI_OPENED
|
Концевый выключатель "Открыто"
|
Запись
|
x
|
x
| |
|
DI_CLOSED
|
Концевый выключатель "Закрыто"
|
Запись
|
x
|
x
| |
|
MOV_AVAIL
|
Состояние "Доступен"
|
Запись
|
x
|
x
| |
|
REM_SW
|
Переключатель "МЕСТН./ДИСТ."
|
Запись
|
x
|
x
| |
|
SAFE_TRIP
|
Защита
|
Запись
|
x
|
x
| |
|
DO_OPEN
|
Команда "Открыть"
|
Чтение
|
x
|
x
| |
|
DO_CLOSE
|
Команда "Закрыть"
|
Чтение
|
x
|
x
| |
|
DO_STOP
|
Команда "Стоп"
|
Чтение
|
x
|
x
| |
x: соединение разрешено
-: соединение запрещено
