5.5.2.4.7.6.1. Алгоритм
Технологический функциональный блок PID_ONOFF_INT выполнен на основе базового функционального блока M_PID и, соответственно, наследует его функции.
|
Функция
|
Описание
|
|
Обработка измерительного входа и формирование переменной процесса (PV).
| |
|
Значение PV не формируется по значению измерительного входа (IN), а задается оператором вручную. Реальное значение измерительного входа (IN) отслеживается по значению параметра необработанных данных (RAW).
| |
|
Реализация алгоритма ПИД управления.
| |
|
Функция ограничения сброса выполняет коррекцию расчета ПИД-управляющих воздействий, используя значение, считанное с адресатов соединений через клеммы RL1 и RL2.
| |
|
Формирование выхода OUT в зависимости от значения управляющего выхода (MV).
| |
|
Обработка тревог блока и формирование списка сработавших тревог (ALRM_R) и состояния тревог (ALRM).
| |
|
Маскирование тревог, т.е. тревоги формируются, но не записываются в журнал событий.
| |
|
Проверка правильности задания уставок (HH, PH, PL, LL) для обработки тревог блока.
| |
|
Принудительный запрет формирования некоторых тревог по ремонтируемому оборудованию.
| |
|
Предотвращает резкое изменение управляющего воздействия MV при переходе режима с ручного MAN на автоматический AUT путем приравнивания значения задания SV к переменной процесса PV.
|
В данном разделе описывается программная функция для стандартного программного модуля двухпозиционного ПИД-регулятора для систем АСУТП. Данный программный модуль будет использоваться для выполнения функции непрерывного контроля через ПИД-алгоритм. Этот программный модуль может быть связан с другим типовым элементом, например:
AI
GCF (расход с компенсацией по температуре и давлению)
GCF_SQ (расход с компенсацией по температуре и давлению — извлечение квадратного корня)
Список доступных режимов:
Список доступных тревог:
Нормальное состояние (NR)
Сигнализация размыкания выхода (OOP)
Высокая сигнализация размыкания входа (IOP)
Низкая сигнализация размыкания входа (IOP-)
Сигнализация достижения 2-го верхнего предела (HH)
Сигнализация достижения 2-го нижнего предела (LL)
Сигнализация достижения верхнего предела (HI)
Сигнализация достижения нижнего предела (LO)
Сигнализация по верхнему отклонению + (DV+)
Сигнализация по нижнему отклонению - (DV-)
Скоростная сигнализация + (VEL+)
Скоростная сигнализация - (VEL-)
Сигнализация избыточного значения выхода (MHI)
Сигнализация недостаточного значения выхода (MLO)
Сигнализация нарушения соединения (CNF)
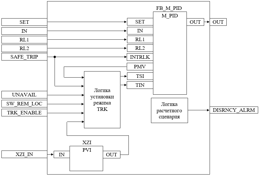
Функциональная блок-схема

Состав элементов блока:
Блок FB_M_PID базового типа M_PID выполняет действие ВКЛ/ВЫКЛ в зависимости от значений SVH и SVL и отклонения переменной процесса (PV) от уставки (SV).
Подпрограмма логики расчетного сценария используется для расчета ширины зазора и уставки в зависимости от значений SVH и SVL и генерирования аварийного сигнала отклонения. Ширина зазора (GW) = (SVH – SVL) / 2. Уставка (SV) = (SVH + SVL) / 2.
Подпрограмма логики установки режима TRK используется для формирования режима отслеживания и формирования значения входа отслеживания TIN блока FB_M_PID в зависимости от входного защитного сигнала (SAFE_TRIP).
Методы доступа к входам/выходам и адресаты блока:
|
Вход/
Выход
|
Метод доступа
к входам/
выходам
|
Адресат соединения
| |||
|
Каналы модулей
ввода/
вывода ПЛК
|
Переменные
внешней
логики
|
Входы/выходы функциональных блоков
| |||
|
IN
|
Измерительный вход
|
Запись
|
x
|
x
| |
|
OUT
|
Выход
|
Чтение
|
x
|
x
| |
|
SAFE_TRIP
|
Защита
|
Запись
|
x
|
x
| |
|
XZI_IN
|
Вход обратной связи положения
|
Запись
|
x
|
x
| |
x: соединение разрешено
-: соединение запрещено
Основные функции
функция управления с использованием ПИД-алгоритма в конфигурации ВКЛ/ВЫКЛ
ошибка аналогового входа и выхода
запрет технического обслуживания измерения
автоматическая маскировка аварийного сигнала
останов технологического процесса (связанный с положением клапана и выключателем безопасности)
представление в HMI
Подробное описание
Нормальные условия эксплуатации: ПИД-регулятор изменяет свой выходной сигнал только при превышении максимально допустимого расхождения между измеренным значением и уставкой (заданной параметром зоны нечувствительности).
ПИД-регулятор с бесконечным коэффициентом усиления используется для быстрого изменения выходного сигнала на минимальное и максимальное значения для выполнения действия ВКЛ/ВЫКЛ. Когда ПИД-регулятор работает в режиме РУЧН, оператор может вручную управлять клапаном.
Ширина зазора (зоны нечувствительности) и уставка будут вычисляться с учетом значений SVH и SVL, которые должны быть введены старшим оператором в окне настройки параметров функционального блока ПИД- регулятора.
Переход с режима АВТО (КАСКАД) на режим РУЧН: Окончательное значение выхода не изменится, так как окончательное значение выхода согласуется с последним вычисленным значением. Переход с режима РУЧН на режим АВТО (КАСКАД): Окончательное значение выхода не изменится до тех пор, пока отклонение (измерение PV — уставка) не станет больше зоны нечувствительности.
Также переход в режим отслеживания (TRK) происходит по одному из условий:
- Переключатель "ДИСТ./МЕСТН." в положении "МЕСТН." (вход SW_REM_LOC = TRUE);
- Состояние "Недоступен" блока (вход UNAVAIL = TRUE);
Переход в режим отслеживания (TRK) не по причине защитной блокировки может быть заблокирован с помощью конфигурационного параметра TRK_ENABLE = FALSE.
Алгоритмом предусмотрена возможность «безударного» перехода при переключении дискретных состояний МЕСТНЫЙ/ДИСТАНЦИЯ. В режиме МЕСТНЫЙ при отсутствии защитной блокировки происходит отслеживание управляемой переменной MV по значению позиционной обратной связи XZI.
Состояние ошибки аналогового выхода: Аварийный сигнал разомкнутого выхода OOP активируется, когда контур разомкнут или в случае неисправности соответствующей платы.
Подробная информация об отказе выхода в разделе
|
Функция запрета технического обслуживания: Когда соответствующее измерение запрещено, ПИД-алгоритм отключается, а окончательное значение выхода фиксируется на последнем вычисленном окончательном значении выхода. Оператор не может изменить уставку SV, ПИД-регулятор принудительно переключается в режим РУЧН, и оператор может изменить окончательное значение выхода.
Останов технологического процесса: Возможны два варианта:
В случае защитной блокировки выход ПИД-регулятора будет принудительно настроен на заданное состояние, и доступ оператора будет запрещен до отключения блокировки.
Для блокировки технологического процесса на выход ПИД-регулятора передается эталонное значение с помощью короткого импульса 2 с, при этом доступ оператора разрешен.
